融创智联考场作弊防控系统

        深圳融创智联科技有限供公司创新性地将电子对抗技术运用在教育考试中,相对于传统的盲目扫频技术,我司的考场作弊防控系统采用可视化监测、智能解码、同步定位等新技术体制,不仅能够实时捕获作弊信号并进行精确的数字式阻断,还可以对作弊内容进行准确还原,实现作弊防控从盲目到精准、从看不见到看得清的根本转变,不仅实现了真正的“绿色阻断”,还可为教育管理机构建立基于作弊态势的大数据分析。汇集了电磁环境监测技术、通讯信号分析技术、自适应信号内容提取技术、阻断信号生成技术、计算机网络技术等信息技术领域的多项尖端技术,支持超宽频段的信号阻断,可在作弊信号传输过程中进行定点监测和精确打击,在有效地遏制无线电作弊的同时避免对周围人体和正常信号通讯产生不良影响。

系统架构


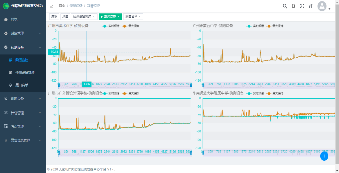
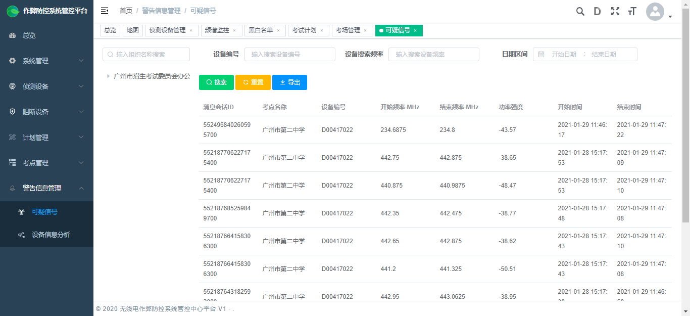
        融创智联考场作弊防控系统的功能包括考前准备、考中作弊信号采集还原及阻断和考后总结三部分。在考前,通过监测终端对考点合法背景信号的捕捉、人工黑白名单的输入等工作进行有地域针对性的初始化工作;在考试期间,通过监测终端对新的可疑信号进行捕获,分析信号特征,并传输给管控终端和作弊防控服务器。管控终端根据收到的信号特征,生成最优的阻断信号,并高效发射阻断信号将作弊信号成功压制。作弊防控服务器收到监测终端的数据,实现报警、信号解调还原存储取证和多系统智能联动;考试结束后,作弊防控服务器实现作弊数据汇总、上报、统计和智能分析等功能。